12+ Ul 419 Pdf

Type S steel screws spaced 12 in. 1 hour non-bearing U 465 or U.


Pdf The Respective Roles Of Cognitive Processing Difficulty And Conversational Rapport On The Accuracy Of Retrospective Reports Of Doctor S Office Visits James M Lepkowski Academia Edu

When Furring Channels Item 2C are used gypsum board attached vertically to furring channels with.

. EcoBatt Insulation Quality engineered thermal and acoustical fiberglass batt insulation with innovative ECOSE technology is ideal for floors. Framing Members Floor and Ceiling Runner Not Shown In lieu of Item 1 For use with Item 2C proprietary channel shaped runners 1-14 in. Quality engineered thermal and acoustical fiberglass batt insulation with innovative ECOSE technology is ideal for floors.

Standard 416 Edition 4 Edition Date. Floor and Ceiling Runners Not Shown For use with Item 2 Channel shaped. Self-drilling self-tapping bugle head steel screws spaced 12 in.

Fire-resistance Ratings - ANSIUL 263 See General Information for Fire-resistance Ratings - ANSIUL 263 Design No. Learn more about ULs Alert. Only products which bear ULs Mark are considered Certified.

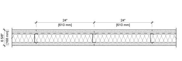
Available insulation products for UL U419. OC along the edges and in the field of the boards. August 30 1993 USD 50500-125800.

Available insulation products for UL U419. 1 hour non-bearing U 419 Single layer 5 8 Type X gypsum board Min. 31 2 steel studs on 24 centers 31 2 Certainteed fiber glass insulation Rating.

When Furring Channels Item 2C are used. Purchase Options Get Update Alerts. Fire-resistance Ratings - ANSIUL 263 See General Information for Fire-resistance Ratings - ANSIUL 263 Design No.

Wide by 3-58 in. Only products which bear ULs Mark are considered Certified. Along the edges and in the field of the boards staggered from screws in inner layer.


The Art Of Verification With Systemverilog Assertions Faisal Haque Jonathan Michelson Khizar Khan 9780971199415 Amazon Com Books


Ligand Aspect Ratio As A Decisive Factor For The Self Assembly Of Coordination Cages Journal Of The American Chemical Society


Pdf Plasticity Of Maternal Environment Dependent Expression Qtls Of Tomato Seeds


En Ps Tl 2cp1200 Bps 001 Enersys Emea


Pdf Proceedings Of The Discussion Meeting On Thermodynamics Of Alloys Held In Barcelona Spain On 23 26 May 1999 Series B Volume 86 Maria D Baro Academia Edu


The Pentatin Cation In Zeolite Y Thallous Ion Exchange And Crystal Structure Of Sn36cl11 Si128al64o384 Fau Containing Sn512 Sn2cl3 And Sn3cl5 The Journal Of Physical Chemistry C


A Comparative Study On Online Machine Learning Techniques For Network Traffic Streams Analysis Sciencedirect


Pdf Global Arcc Trial Global Arcc Trial Temsirolimus Interferon Alfa Or Both For Advanced Renal Cell Carcinoma Researchgate


Gt Ber Relais Benedikt Jaeger Pdf


Expanding Plastics Recycling Technologies Chemical Aspects Technology Status And Challenges Green Chemistry Rsc Publishing Doi 10 1039 D2gc02588d


Pdf The Roving Museum Dorothea Papathanasiou Academia Edu


Pdf On Line Pronoun Resolution In L2 Discourse L1 Influence And General Learner Effects


Expanding Plastics Recycling Technologies Chemical Aspects Technology Status And Challenges Green Chemistry Rsc Publishing Doi 10 1039 D2gc02588d


Abstracts Of The Mds Virtual Congress 2021 2021 Movement Disorders Wiley Online Library


Power System Protection Vol 3 Application Pdf Pdf Transformer Electrical Substation


Pdf Labor Market Reforms In Korea Policy Options For The Future Amit Dar Academia Edu


Ul U419 Wall Assembly

Iklan Atas Artikel

Iklan Tengah Artikel 1

Iklan Tengah Artikel 2

Iklan Bawah Artikel